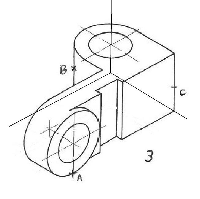
Tengo el siguiente ejercicio y me gustaria saber como se sacaria el plano y se haría la sección, y como quedaria ésta.
Dada la perspectiva axométrica isométrica a escala 1:1 de la pieza industrial.
Representar las lineas ocultas de la pieza y posteriormente la sección por el plano definido por los puntos A,B y C, rayando el resultado con rectas del plano paralelas a YOZ.
Muxas gracias de antemano.
sección pieza en axonométrico
Moderador: vicente
sección pieza en axonométrico
- Adjuntos
-
- pieza.JPG (38.73 KiB) Visto 6304 veces
