corte que produce un plano en una figura(axonometrico)
Moderador: vicente
corte que produce un plano en una figura(axonometrico)
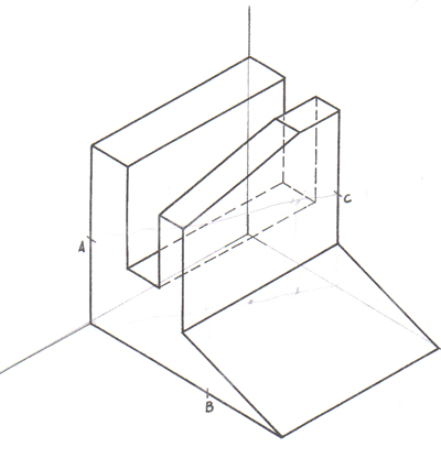
alguien sabe como se dibuja el corte que produce en la figura el plano ABC??
- Adjuntos
-
- 16mr1.jpg (143.78 KiB) Visto 33669 veces
-
vicente
- Moderador

- Mensajes: 1136
- Registrado: Sab Nov 19, 2005 11:10 pm
- Ubicación: Algeciras
- Contactar:
Aquí tienes tu dibujo antes y después del corte por el plano ABC:
Para la ejecución de este tipo de ejercicio debes tener en cuenta una propiedad fundamental: "En la sección plana de un objeto, las superficies paralelas del mismo, producen líneas de intersección igualmente paralelas entre sí".
Aquí procederíamos del siguiente modo:
1º) Unes A con C y localizas el punto F que es clave.
2º) Por B trazas la paralela a CF y obtienes BG (recuerda la propiedad enunciada, que iremos aplicando en cada caso).
3º) Por C trazas la paralela a BF y obtendrás CD.
4º) La prolongación de BF localiza el punto E, que unido con A y con D completa la sección.
Para la ejecución de este tipo de ejercicio debes tener en cuenta una propiedad fundamental: "En la sección plana de un objeto, las superficies paralelas del mismo, producen líneas de intersección igualmente paralelas entre sí".
Aquí procederíamos del siguiente modo:
1º) Unes A con C y localizas el punto F que es clave.
2º) Por B trazas la paralela a CF y obtienes BG (recuerda la propiedad enunciada, que iremos aplicando en cada caso).
3º) Por C trazas la paralela a BF y obtendrás CD.
4º) La prolongación de BF localiza el punto E, que unido con A y con D completa la sección.
- Adjuntos
-
- PiezaCorte.gif (8.41 KiB) Visto 33669 veces
-
vicente
- Moderador

- Mensajes: 1136
- Registrado: Sab Nov 19, 2005 11:10 pm
- Ubicación: Algeciras
- Contactar:
Esa propiedad lo que viene a decir es que cuando cortas un objeto con un plano, las caras del mismo que sean paralelas darán líneas de intersección igualmente paralelas.
En tu pieza, las caras horizontales tendrán líneas de intersección paralelas, como lo son AE y GC. Las caras paralelas al plano xz tienen paralelas las líneas BG y FC. Análogamente, las caras paralelas al plano yz tienen paralelas las líneas CD y BF.
¿Entiendes ahora la propiedad?
En tu pieza, las caras horizontales tendrán líneas de intersección paralelas, como lo son AE y GC. Las caras paralelas al plano xz tienen paralelas las líneas BG y FC. Análogamente, las caras paralelas al plano yz tienen paralelas las líneas CD y BF.
¿Entiendes ahora la propiedad?
-
vicente
- Moderador

- Mensajes: 1136
- Registrado: Sab Nov 19, 2005 11:10 pm
- Ubicación: Algeciras
- Contactar:
Verás como ahora si lo vas a entender.
Un plano que corte a otros dos planos paralelos "alfa" y "beta" produce sobre ellos sendas rectas paralelas "r" y "s", ¿comprendido esto?
Pues bien, un plano que corte a un objeto que tuviese caras paralelas entre sí, produciría igualmente sobre ellas segmentos paralelos, como el AB con el CD. (también cortaría en este caso a la base y a las caras laterales, pero no lo he representado para simplificarte el dibujo).
Si te relees ahora la propiedad que te enuncié seguro que ya la entiendes.
Un plano que corte a otros dos planos paralelos "alfa" y "beta" produce sobre ellos sendas rectas paralelas "r" y "s", ¿comprendido esto?
Pues bien, un plano que corte a un objeto que tuviese caras paralelas entre sí, produciría igualmente sobre ellas segmentos paralelos, como el AB con el CD. (también cortaría en este caso a la base y a las caras laterales, pero no lo he representado para simplificarte el dibujo).
Si te relees ahora la propiedad que te enuncié seguro que ya la entiendes.
- Adjuntos
-
- CortesParalelos.gif (4.82 KiB) Visto 33669 veces
Quiza a nuestro amigo le resulte más fácil pensar que en cualquier sistema de representación, la intersección de cualquier sólido por un plano es un problema múltiple de intersecciones de rectas (aristas del sólido) con el plano dado. Al ir incluyendo cada arista en un plano auxiliar y resolver la intersección de este plano con el dado tendras una recta que te dará el punto exacto de corte del plano con la arista.
Espero no haberlo liado todo más.
Un saluado.
Espero no haberlo liado todo más.
Un saluado.
no lo consigo ver bien del todo..m cuesta aplicar la propiedad(m lio vamos),aber si podeis resolver ste ejercicio aplicando los pasos k a dado homologia..mas k nada kiero ver el proceso pero en el dibujo...graciass y xrdonad si soy tan torpee 
- Adjuntos
-
- 170520061829504pg.jpg (78.74 KiB) Visto 33668 veces
-
guanchito_
- Novato/a

- Mensajes: 32
- Registrado: Dom Ago 06, 2006 6:28 pm
esta solución en proyección estaría bien?
he sombreado la sección en las vistas para que se distinguiera bien y luego he abatido sobre el PH para obtener la verdadera magnitud
- Adjuntos
-
- 1bm8.jpg (206.28 KiB) Visto 33668 veces
