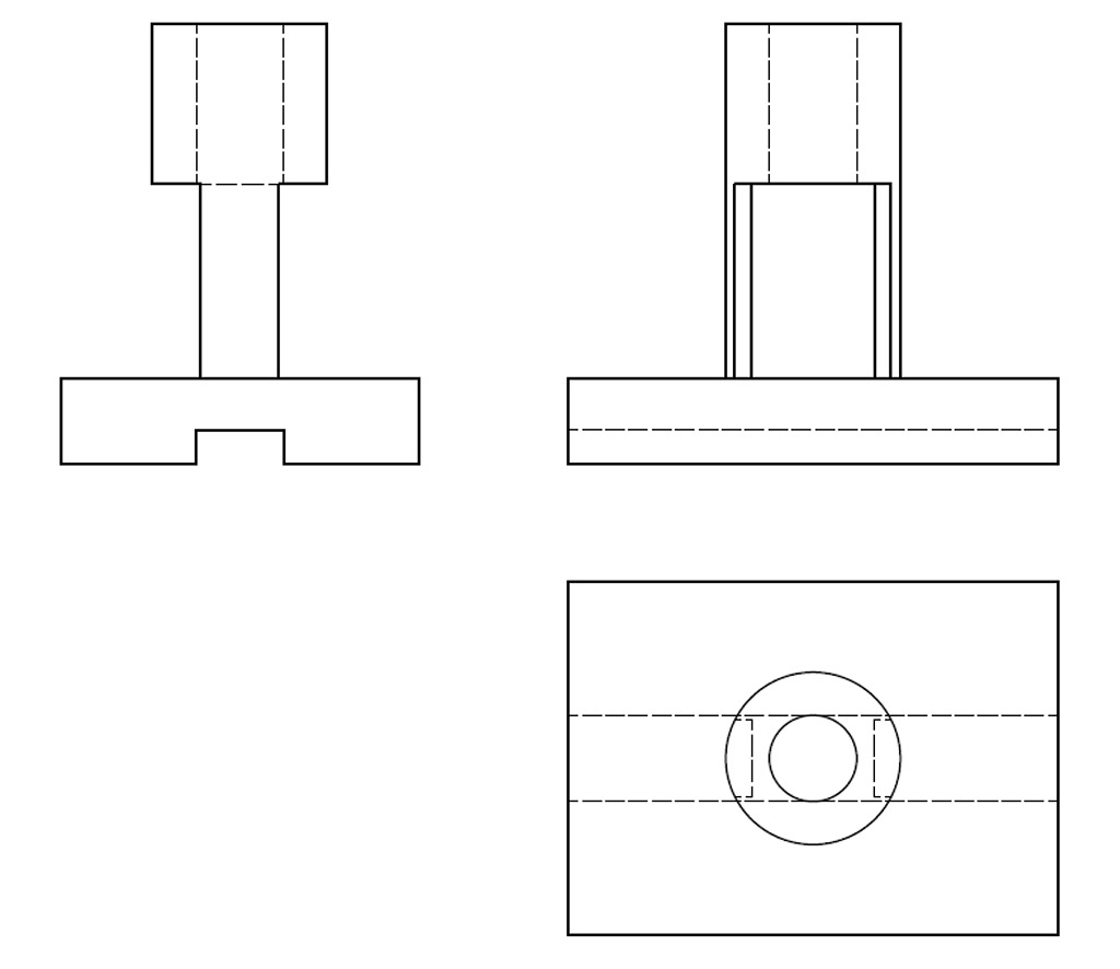
tengo que representar este sólido para la uned en perspectiva isométrica y en autocad 2d, estoy intentando hacerlo primero en 3d y la vista de alzado o frontal, la de arriba a la derecha no me cuadra con la vista superior la de abajo. Veo arriba un cilindro con un huevo cilíndrico, pero lo que hay debajo de ese cilindro, pues no se ni me lo imagino. Adjunto la imagen a ver si alguien me puede decir si es posible esta pieza o faltan o sobran líneas, pues ni de broma.
Saludos y gracias.
Vistas de Sólido no me cuadran - ayuda
Moderador: vicente
-
antoniuskas
- Observador/a

- Mensajes: 1
- Registrado: Vie Nov 11, 2016 12:22 pm
Vistas de Sólido no me cuadran - ayuda
- Adjuntos
-
- practica13.jpg (75.26 KiB) Visto 18950 veces
- bartolome
- Administrador

- Mensajes: 120
- Registrado: Mar Nov 15, 2005 7:24 pm
- Ubicación: Cieza
- Contactar:
Re: Vistas de Sólido no me cuadran - ayuda
A mi me parecen correctas las tres vistas.
Un cordial saludo de Bartolomé López Lucas
Un cordial saludo de Bartolomé López Lucas